7月4日龙虎榜:欣锐上演天地板 欢乐海岸无力回天
2018-07-04 19:32

今日的市场与以往不同,不再分化了,分歧转向一致——都在跌。随着欣锐科技的天地板,强势股纷纷补跌,市场连报团取暖的机会都不给了,其余个股上板几乎没有什么板块效应,难以持续。目前的市场有些类似今年的2月份,当时乐视网在连续跌停后企稳,可以作为中兴通讯的对标。当时表现的题材有超跌、次新两条主线,雄安5G芯片等穿插其中。而超跌线,主要是走出空间后三板切换的循环。次新线,则是在超跌股打开空间后的叠加。究其根本,是底部确立后超跌赚钱效应的扩散。我们匹配历史,必然要匹配氛围。当时是以乐视网启动后横盘供超跌发酵,加上央行资金流的宽裕。但是目前六月份的负债表没出,且贸易战局势未知,这是最大的不确定性。

可资金永远是逐利的,依然有活跃的短线资金在市场中战斗,去打开市场的空间。所以我们假设现在是底部,中兴通讯必然要在此横盘,走乐视网一类的走势。当时以韩建河山的四板打出空间,今天市场认可了邦讯技术的五板。当时市场走了一段次新+的行情,主逻辑还是叠加了超跌。那么对应现在,欣锐科技打出足够的空间,超跌的次新也有修复估值的需求。这里就要看流通市值最低的次新有没有异动,是个观察点。

image

重点股票龙虎榜解读:

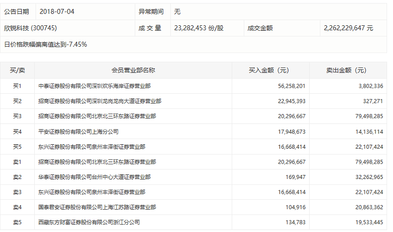
欣锐科技:

该股因欢乐海岸席位溢价缘故,今日大幅高开,但昨日已经说过,在目前这样的环境下,以昨日73%换手要想在今日完成反包实在太困难了。我们通过大单委托可以发现,在欣锐科技10:13开板后,资金已经丧心病狂到委托跌停价出货,如下图所示:

image

这笔单子造成了非常不良的影响,导致资金只敢尽力护盘,而不敢发动进攻,试图在午后等情绪回暖后借势上板,类似于6月27日的超频三。但无奈午后情绪并未被修复,欣锐科技毫无抵抗之力,一路下杀,直至尾盘,该股已确认无力回天,欢乐海岸无奈跌停出货。跌停板上的委托大单如2971,3019都是欢乐海岸的单子。

image

然后我们看下成交回报:

image

今天这个成交回报显示,引导资金已经尽力了。早盘欢乐海岸买入5600万进行护盘和拉板,北京北三环东路也买入2000万帮忙,但散户才是市场最大的主力,即使游资也无法逆势而为。最终北京北三环东路见该股已无望封板,出货近8000万,而欢乐海岸因在跌停板上没卖出多少股,所以昨日买入席位今日未在卖出榜上显示。

邦讯技术:

由于欢乐海岸存在大幅的席位溢价,导致最近经常上演真假欢乐海岸的事情,午后邦讯技术8900的委托封单就借用了欢乐海岸的惯用数字。

image

但最终成交回报显示,今日并无欢乐海岸席位上榜。

image

欢乐海岸不仅今日没有买入,甚至连前两日买入的中信证券深圳科技园科苑路和深圳后海都很可能是“李鬼”。不过该股好在仍是市场合力行为,即使没有这8900手,大概率仍然会封死涨停,只是抛压可能会稍稍大一些罢了。该股明日可能因为成交回报不及预期带来负溢价,若被核按钮,反而会是机会。

太阳电缆:

在大盘情绪较差的情况下,往往庄股会有所表现,今日太阳电缆三连板带起了大连电瓷、柘中股份、甘肃电投等前期庄股。

image

成交回报显示上的青岛香港中路是常见的庄股席位,以及昨日的青岛秦岭路同样是庄股席位。个人对庄股没有偏见,跟得好同样能够获得丰厚的利润,但是跟庄难度在于自身并没有主动权,容易被盘中的波动影响。

阿石创:

两个泛国产替代股,阿石创和湘邮科技分出了胜负,阿石创凭借次新和人气的优势最终顽强封住涨停。虽然烂板,但若按照大盘强一天弱一天的尿性,该股明日若碰上指数上涨,仍会是国产替代板块龙头。贸易战算是今日为数不多的热点之一,贸易战分三个方向,一个是国产替代、一个是增加商品关税、另一个是人民币贬值,目前这三个方向循环炒作,机会难以把握。今日似乎又炒回商品关税方面。

image

成交回报显示昨日买入席位今日悉数出货,换手也相对合适,明日该股弱转强有望缩量加速上涨。

特别声明:本文系网络转载,如有侵权请联系删除,版权归原作者所有