9月14日龙虎榜:德新交运遭遇二股东减持 机构大举出货科技股
2018-09-14 18:43

今日指数严重分化,上证指数维持横盘,但创业板指大跌。消息面上受平安资管事件影响,个股恐慌情绪非常严重。盘面上新能源汽车在早盘的爆发分流了很大部分资金,像昨日热点的军工和油气在承接上都出现了问题。对于这种盘前消息刺激直接涨停潮的题材,在熊市中基本一日游,害人害己。虽然承接不强,情绪持续走弱,但是试盘资金还是有的,但是试完之后发现没一个被认可。炒无可炒,只剩妖股,特力A上位,随后中弘股份、德新交运、乐视网开始表演,人气几乎全被这三只股吸走了,其他题材加速下跌。

image

重点股票解读:

“三妖”

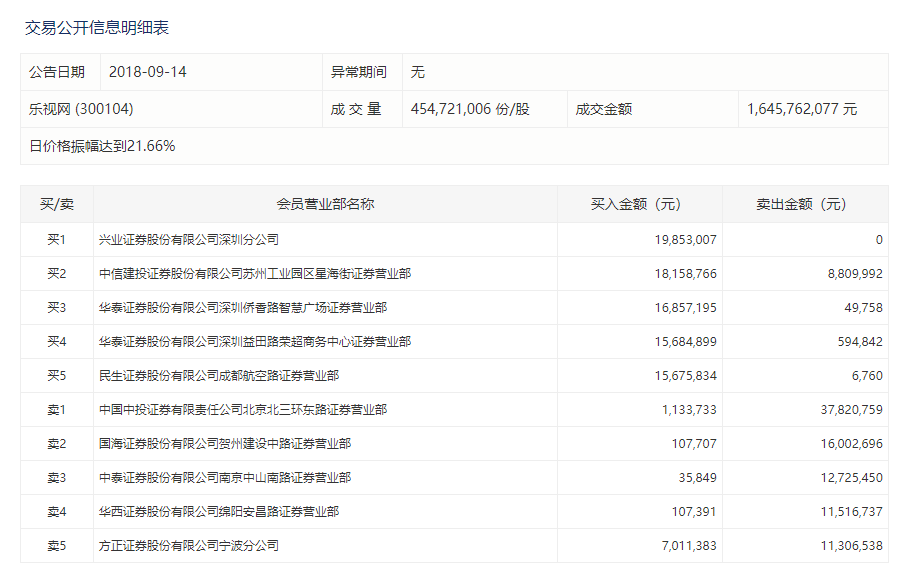
:“三妖”先排个序,德新交运>乐视网>中弘股份。这三只股目前对大盘而言是负反馈,这三只股越强,大盘就会越弱。因为这三只股走强意味着资金的抱团取暖,代表市场资金对整个股市的极度没信心。昨天说过,次新和超跌是对立的,早上次新一副摇摇欲坠的样子,为这三只股的撬板奠定了基础。午后,随着乐视网和德新交运打开跌停,题材个股开始崩溃,最明显的就是近端次新全面崩盘。德新交运的庄控盘力度还是很高,因为成交量没有特别明显的放大,所以可能还会继续妖下去。然后说说乐视,乐视撬板那一刻分时成交量达到了3.07亿,而当时创业板才成交了4.16亿,可以想象目前资金抱团有多紧。

image

乐视网成交回报很亮眼,整体成交16.4亿的情况下,前五买入占比只有5.75%,可以确认的是,散户是不可能做出这样进攻形态如此猛烈的分时,要么是大资金分仓故意不上榜,要么是大资金直接的合力,这样的成交回报有点类似于去年3月14日的白银有色和去年12月22日的华能水电。

image

德新交运的成交回报又一次看到了财富证券杭州庆春路,现在基本可以确认这是庄席,游资是不会出现这样的操作手法的。卖出方面,卖一卖出4200万,第一反应我就觉得很奇怪。德新交运从上市不久之后,就成了一只庄股,之后爆仓显然完成换庄,所以这里4200万的资金不太可能是老庄,而新庄也不会在这时候出货。卖出席位是第一次见,而且是乌鲁木齐地区,所以很可能是股东的减持,查了下减持公告,新疆国资公司披露过公告,在5月10日至11月6日之间,会减持不超过533.36万股。结合公告和成交回报,二股东手里大约还有200多万的股票未减持。

宝德股份:

宝德股份今日收了个烂板,基本符合昨日预期。从开板时间来看,基本和指数共振,从炒作属性来看,似乎从油气属性转变到问题股属性,从承接力度看,虽然三次开板,但是回封速度都非常快,承接力度很强。总体而言,烂而不弱。

image

从成交回报来看,基本可以确认是市场合力。市场合力在目前的环境下就是助涨助跌。下周一宝德股份就将面临5板,这是个坎,在没有大资金做引导的情况下,冲击5板这个天花板难度很大。

特别声明:本文系网络转载,如有侵权请联系删除,版权归原作者所有