8月20日龙虎榜:创业板指新低后的长下影 5G概念单骑救主
2018-08-20 19:02

午后指数反转,创业板指在新低之后走出长下影。今日沪创指数长下影是以5G为代表的科技股大涨所走出来的,与尾盘拉升中字头护盘走出的长下影含金量存在“质"的区别。近期指数下跌核心是前期强势的价投股,上半年大涨的医药股近日补跌最凶,这些股补跌完,基本就见底。对比明显的是,中国软件、北方华创、浪潮信息、用友网络这些科技股在高位盘整。

image

重点股票龙虎榜解读:

神宇股份、新易盛、太辰光:

5G无疑是近日市场最强题材,亦是午后指出反弹先锋。把这三只5G概念股放在一起写,是因为看多该板块的合力效应。

image

新易盛

早盘逆势涨停做龙头,助攻的移为通信则一路烂板,由于板块午后掀起涨停潮,新易盛位置低,底部双响炮,无疑可以看高一线。

太辰光

午后率先上板,神宇股份随后直线拉升封板,创业板指则从跌2%新低之后拉升翻红。从时间节点看,太辰光理论上是今日人气板,但是在K线上,明日涨停价是20元,会遇上前期的套牢盘,面临巨大抛压。另一方面,神宇股份流畅的拉板致使股价突破压力位,同时以3连板的姿态成为市场焦点,短线资金或许会被神宇股份分流。太辰光明日会拥有较好的溢价,同时在19元上方会遭遇较大的抛压。

神宇股份

直线拉板,从驱动上看是因为太辰光的涨停。但是在人气方面,无疑是市场的“一哥”,通过太辰光、中通国脉、神宇股份叠加的分时图可见,在太辰光封板之后,介入中通国脉的资金并不多,但是在神宇股份涨停后,资金立马去封板中通国脉,并在中通国脉留下分时3851万的成交额。神宇股份涨停之后的封单强度及抛压都挺好,向上空间也比较大。

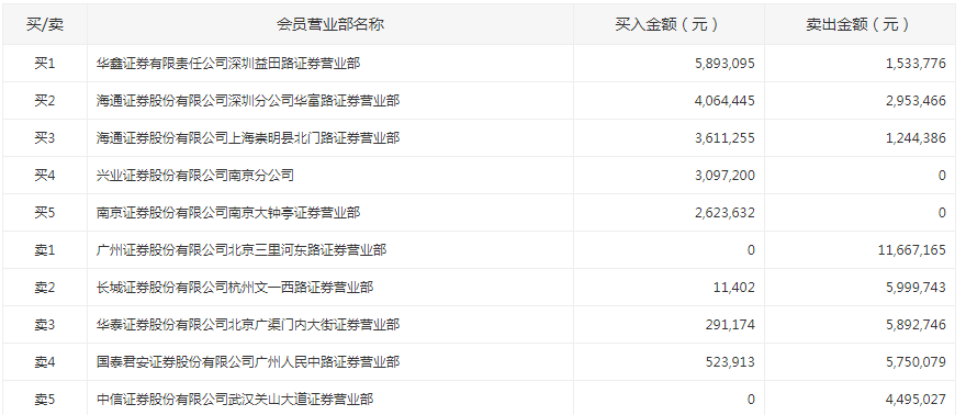
image

成交回报方面,买入前五金额都不大,没有出现一家独大的情况,缺点则是少了大资金的引导及认可程度。卖一出货1166.72万,这路资金在里面应该有段时间了,5月14日曾卖出948.32万。其它几个卖方都是前两天进去的短线客。明日,最大隐患在于短线浮盈资金过多,今日17%的筹码都在水下成交,这部分筹码收盘浮盈已超过10%,明天需要看承接资金的力度。

中科金财:

炒作题材是区块链叠加国产软件,区块链方面有一个2连板新晨科技,国产软件方面则有中科创达、新北洋、朗玛信息等个股午后涨停助力。上午直线拉升封板没人知道是炒区块链还是炒低位的软件股,涨停之后一路烂板到两点才封死。该股成为分析标的,是因为它的封板时间、炒作题材及位置都符合市场的审美,并且一线游资云集。

image

成交回报方面,买方都算是一线游资,除了引导资金其它都是在板上买入的。中投无锡清扬路、华泰厦禾路、中信古北路及新冒头的光大中山二路。虽说烂板出妖股,但是市场环境差,追高接力资金意愿低,明天需要在部分筹码交换后一根极速拉升的分时才能彰显信心。

特别声明:本文系网络转载,如有侵权请联系删除,版权归原作者所有