7月25日龙虎榜: 热点继续分化 明日小心谨慎为妙
2018-07-25 18:49

大盘调整,基建持续发酵,板块如昨日判断,虽然出现分化,但也是弱分化。明日不仅是基建板块,基本整个大盘要出现比较严重的分化现象。其他热点如基因回溯,明天基本宣告结束;Facebook大概率一日游;尾盘近端次新基本崩溃,明日这种情绪还会延续。所以明日小心谨慎为妙。今日最亮眼的当属妖股斯太尔,带动跟风通产丽星跟风涨停,给予了市场些许信心。

image

重点股票龙虎榜解读:

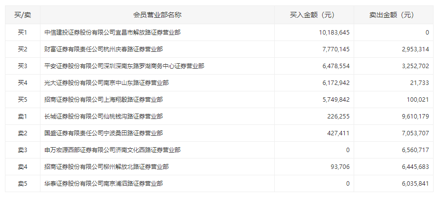
斯太尔:昨日分析斯太尔今天会走加速板,没想到又是一个分歧板。如果今天加速的话,那明天估计难了,可是今天分歧7连板,打破天花板,又让人有了想象空间。斯太尔上板后,通产丽星跟风涨停,美联新材拉升,可以算是对妖股的助攻,后市可以看斯太尔演绎天空才是尽头了。

image

其实不看成交回报也知道是市场合力,比较可惜的是买一中信建投宜昌解放路似乎是底下低吸而不是板上买的,因为在涨停板上没找到他的单子。个人对买一是有偏见的,此人曾在2016年10月21日时恶意砸盘四川双马,就为了做个T。希望此人明日不要再做这种事了,妖股不易,且做且珍惜。卖出方面,昨日买入资金今天均已出货,击鼓传花的游戏还在继续。

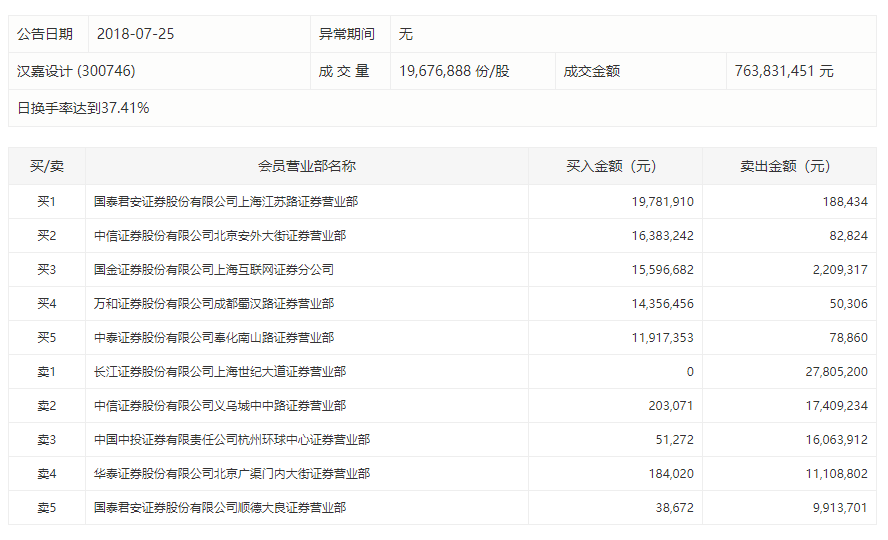
汉嘉设计:整个大基建板块中,这只个股是最超预期的。该股由于昨日该股量不足,且成交回报不尽人意,所以分析该股可能走不出来。但该股今日大超预期涨停开盘,即使昨日资金砸盘出局,走势回落,但超预期带来的人气已经聚集,止跌后快速上板。尾盘近端次新纷纷杀跌,宁德时代和锐科激光跌停,深信服、科沃斯、彤程新材等均大幅杀跌,但汉嘉设计尾盘未明显放量,说明没有受到影响。尾盘近端次新杀跌带给汉嘉设计的影响是明日不再是一致的预期,当然有分歧是好事,分歧才能走得更远。

image

成交回报还可以,昨日榜上的买三和买四锁仓,其余资金已出局,浮筹稍微洗了一遍,轿子不重。明日该股最好是继续分歧,继续放量,因为本身一板的量不够,二板虽然量能翻倍,但还是稍微欠缺了一些。该股明日若继续涨停就马上接近前高,在次新情绪冰点的情况下脱颖而出的股,后市是有机会成妖的。

易联众:疫苗回溯板块今天分化,易联众、楚天科技、华北制药仍涨停,但博晖创新、天瑞仪器、信息发展、均大幅杀跌,预计明日该板块可能只剩易联众一只独苗了。实际上易联众今日走势是不符合预期的,因为昨日的澄清公告不是利空,反而是利好,在公告加强的情况下今日仍多次开板,有些不尽人意。

image

成交回报方面,机构继续出货,对于这种题材,机构基本上是不认同的,出货很正常,一般来说,当市场炒题材炒情绪的时候,不需要太在意机构的举动,而炒基本面的时候,机构的买入或卖出才比较重要。值得在意的是买三,此人除了买入易联众外,还买入了楚天科技,看来是对这个板块相当看好。不过个人认为疫苗回溯板块基本要结束了,该股明日的博弈点在于个股需要摆脱板块走出独立行情。

罗牛山:海南板块的上涨实际上也是基建的发酵,大基建今日分化后,资金回流,先是从一带一路开始,然后炒作新疆、西藏板块,有点类似于昨天雄安板块中泛基建股的涨停,但没被认可(可能是炒过太多次的缘故),最后发酵到海南。从逻辑上来讲,海南政策发布频繁,正是大兴土木之时,比较说得通,个人猜测预期可能是海南在2019年的固定资产投资计划中投资比例升高。该股今日无榜。

image

这个成交回报的买三是亮点,这个席位可以说是妖股制造机,中科信息、贵州燃气、华森制药、王兴科技、盘龙药业、锋龙股份、欣锐科技均有参与。罗牛山的走势是存在二波预期的,和去年6月14日的西部建设稍微比较相近一些。

成都路桥:成都路桥今天继续缩量一字,符合预期,但是随着大基建板块板块的进一步分化,该股明日应该会开板。基本上所有人都认为该股在连续两个一字之后没法接,而市场会出一个卡位品种,个人不是很同意。原因在于今日连板个股中,山东路桥一字、建研院一字、重庆建工T字、山鼎设计秒板,所以成都路桥的连续一字板是市场共识,今天只要有人卖,基本就是送钱,更何况里面的资金根本不着急获利兑现,明日该股的分歧也没有大家想象中那么大。不鼓励大家接盘,只是提出自己的看法。该股今日无榜。

特别声明:本文系网络转载,如有侵权请联系删除,版权归原作者所有