8月22日龙虎榜:连板空间被进一步压缩 德新交运能否打破3板高度?
2018-08-22 18:53

指数跌幅虽然不大,但是亏钱效应明显,机构大幅减仓,游资大多“度假”为主,清扬路和环球中心两位劳模则是风雨无阻。3连板的新晨科技直接闷杀,部分资金试图反抗,早盘封板昌红科技,午后点火新易盛,但是没有打板资金跟进,纷纷被砸。

从新疆浩源的5板,到高乐股份的4板,再到3板的神宇股份昨天还有上板动作,今天的新晨科技则直接连溢价都不给,空间被一步步压缩。国家队护盘资金暂歇,今天是考验反弹成色的日子,上证成交额跌破1000亿。下午出现小部分恐慌盘,但是向下的抛盘不大杀不动,在国家队不干预的情况下,向上则缺少活水和信心,从情绪上看达到一个弱平衡状态。在这个牛熊仅在瞬间的市场里,后市方向无法轻言其左右。

image

德新交运昨日午后直线拉升封板,今天5个点的竞价溢价在新晨科技和新易盛竞价被砸的背景下彰显了强势。后面5分钟竞价时间里,13.66的价格纹丝不动,这个开盘价也是全天最低价。明天将挑战4板,承载着连板股新起点的希望。明天,无论大盘如何选择方面,德新交运都需要打破3连板的高度,否则市场将面临一种无板可打的状态,会把打板资金的情绪打入冰窖。如同今年2月份的智慧农业,指数虽在大跌,但是6连板为市场保留了一份赚钱效应。

image

image

成交回报方面,没有前两天的数据,从三日和今日的回报数据上看没有较大浮盈的锁仓资金,整体来看短线筹码结构还算不错。这应该是最有可能打开市场空间的一只股,不过高回报同样伴随着高风险,如神宇股份一般隔天18个点的大面一碗,目前还敢去打空间板的也都是勇士。

泰永长征的分时是今天两市最好看的自然板,有要做次新反弹先锋的气势。但在试图做情绪的背景下,没有在次新板块中掀起任何水花,如密尔克卫、明德生物、春光科技、汉嘉设计这几个近端次新午后出现加速跳水的情况,昨日涨停的锐科激光也是被水下闷杀。从目前的情况来看,该股定义为反抽比较合适,次新目前还没能引起资金的欲望。

image

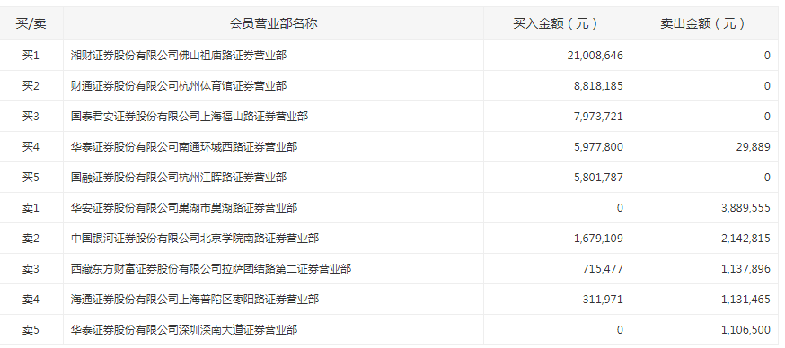
成交回报方面,买方湘财佛山祖庙路2100万独大;卖方最大资金仅388.96万,还有西藏东财团结路这个散户集中营100万上行的进出。从行为上看,在蓄意的引导资金点火后,随后引来打板资金助攻。

特别声明:本文系网络转载,如有侵权请联系删除,版权归原作者所有