从爆买到狂卖,“前男友主题基金”经历“天地板”,单日申购上限速升至1亿份,挡住了冲动?
2024-01-29 21:44

财联社1月29日讯(记者 周晓雅)

经历了上周二以来连续7次风险溢价提示,易方达MSCI美国50ETF在今日从爆买的狂潮,迅速陷入狂卖的深渊。此前西部利得基金经理盛丰衍曾建议将美国50ETF基金“推荐给前男友”,该基金也因此被调侃为“前男友主题基金”。

今日,易方达MSCI美国50ETF在上午恢复交易不久后即触及跌停,同时,产品的溢折率迅速突破30%;午后虽然盘面稍有松动,但直至收盘前45分钟,该ETF继续封住跌停板,截至收盘,二级市场成交价报1.379,跌9.99%。

image

面对“天地板”行情的上演,有网友称“美国50ETF如期下跌”。事实上,早在上周,该产品已经持续提升单日份额累计申购上限,从300万份抬升至今日的1亿份。这意味着,此前被市场炒作的额度供不应求困境已经悄然转变。另外,汇添富基金旗下的美国50ETF也将在明天开卖。

随着此轮行情的转向,是否意味着QDII-ETF轮番“高溢价”现象将暂告一段落?就在今天盘后,华夏标普500ETF、华夏野村225ETF、工银瑞信大和日经225ETF等产品也相继发布溢价风险提示。

image

申购额度上限迅速增至1亿份,美国50ETF走出“天地板”

经历了上周二、周三接连两日的涨停,易方达MSCI美国50ETF的涨幅在上周四已收窄至8.76%,上周五经历了上午短暂开盘以后继续停牌,而到本周一则是跌停收盘。

与行情同步回落的还有溢折率。数据显示,截至今日收盘,该ETF的IOPV溢折率回落至28.42%,此前,该数值一度在上周四攀升至43.47%。

虽然溢折率有所回落,但仍是今日ETF市场中溢折率最高的产品,这也意味着,产品或还需在后2个交易日继续经历跌停,溢折率才能回落至此前5%以内的水平。

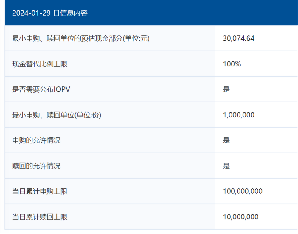
“高溢价”情形有所缓解,与申购额度提升不无关系。易方达基金官网显示,今日,易方达MSCI美国50ETF的当日累计申购上限为1亿份。而截至上周五,该ETF的基金份额总额为1.29亿份。今日可供申购的份额(1亿份)相当于目前基金份额总额的七成以上。

image

一周前,此前该ETF的单日累计申购上限仅为300万份,而随着高溢价的出现,产品的当日累计申购上限自上周三(1月24日)抬升至800万份,随后两个交易日继续放宽至2000万份、5000万份。

从实际申购情况来看,截至1月19日,该ETF的基金份额总额仅为4489.26万份,对应的基金规模为4769.84万元。因规模连续低于5000万元,该ETF还曾在1月11日发布关于基金资产净值连续低于 5000万元的提示性公告。

不过,过去一周,产品规模已迅速突破5000万元。Wind数据显示,截至上周四的规模已达到1.39亿元,较1月19日规模增长189.58%,基金份额总额则是一周增长187.11%。

跨境ETF“高溢价”暂告一段落?

从高溢价的出现,到溢价修复。买入高溢价产品的风险,早已在基金管理人多次的风险提示公告揭晓。

易方达基金曾在上周多次公告,提示投资者关注二级市场交易价格溢价风险,如果盲目投资,可能遭受重大损失。相关公告强调,该基金二级市场的交易价格,除了有基金份额净值变化的风险外,还会受到市场供求关系、系统性风险、流动性风险等其他因素的影响,可能使投资者面临损失。

该ETF挂钩的MSCI美国50,也在上周出现行情的转向,结束连涨的行情。

image

而从市场供求情况看,除了易方达MSCI美国50ETF当日申购额度上限的大幅增加,汇添富MSCI美国50ETF也将在明天开卖,首募规模上限为2.2亿元,募集期为1月30日至3月22日。

除了易方达MSCI美国50ETF以外,华夏标普500ETF今日的溢折率也达到11.53%。自上周以来,该ETF的溢折率也出现明显增长,一度超过15%。根据华夏基金官网显示,该基金的在今日的累计申购份额上限为100万份。

盘后,华夏基金也发布关于华夏标普500ETF二级市场价格溢价风险提示及停牌公告。明日开市至当天10:30停牌。今日开盘,该ETF也曾出现停牌的情形。

另外,此前曾被市场爆买的华夏野村225ETF,在今天盘后也发布风险提示,该ETF近期二级市场交易价格明显高于基金份额参考净值,出现较大幅度溢价。数据显示,该ETF今天溢折率超7%。

image

同样提示溢价风险的还有工银瑞信大和日经225ETF,该ETF今日溢折率超5%。

image

跨境ETF的“高溢价”频频被市场关注的背后,多只产品公告均提到,投资者在投资基金前应认真阅读基金合同、招募说明书(更新)和基金产品资料概要(更新)等基金法律文件,全面认识基金产品的风险收益特征,在了解产品情况及销售机构适当性意见的基础上,根据自身的风险承受能力、投资期限和投资目标,对基金投资作出独立决策,选择合适的基金产品。

特别声明:本文系网络转载,如有侵权请联系删除,版权归原作者所有