7月12日龙虎榜:南京证券打开次新空间 三机构买入锐科激光(附基本面分析)
2018-07-12 19:25

如昨日所述,今日指数修复反弹大概率事件,只是没想到反弹来得如此凶猛。但正是由于行情普涨,资金对高位妖股的接力意愿就显得非常弱,今日下跌最凶的就是之前上涨最猛的,如福达合金、智动力、天永智能、赫美股份等。

但是大涨行情无法持续,面对行情普涨,很多机构、公募私募会选择回补,这是今日行情持续上涨的根本,但是回补之后短期必定不会继续这么加仓,所以短期内行情会稍微回归平稳。在后市行情分后中,应该锁定资金主攻方向——次新,而超跌会慢慢退出。

另外,中兴通讯在消息刺激的情况下,一字涨停,带起了泛科技股的大涨,如芯片、5G、软件等,这几乎是今日大涨的主旋律,后期仍应关注次新+科技股。今日中兴通讯的隐患在于,买入均为游资,所以基本面上可能未发生较大转变,且消息的准确性值得商榷。由于今日指数涨幅较大,偏离值较小,所以龙虎榜数据较少,大部分涨停个股无成交回报。其中最亮眼的在于莫过于佛山撬板兴源环境和盛运环保,上亿资金包场买入。

image

重点股票龙虎榜解读:

南京证券:

今日最佳。在绿色动力如预期倒下之后,南京证券快速上位成为龙头,节奏非常快。次新板块将会是近期市场的焦点,尤其是近期开板的独角兽次新股,如锐科激光、深信服、宁德时代、亿嘉和、科沃斯、药明康德等。这一批开板次新股的基本面和往年的次新股相比,是天差地别的,每一家公司都是行业或是细分行业龙头,质量非常之高。

南京证券今日的涨停基本打开了这一批次新股的空间,午后中信建投的助攻,也基本确认了该股明日大概率一字板,后续走势可以参照16年的第一创业。该股今日无成交回报,但是个人猜测主封大概率是赵老哥。另外提一句,不是所有的涨停板都是有换手就好,没换手就差。该缩量加速时就加速,该换手时就换手,这是由预期和溢价决定的,我个人认为南京证券明天一字是合情合理的,并不会影响后市高度。

锐科激光:

今后遇到新开板的优质次新股,我会稍微说下公司的基本情况,来源基本来自招股说明书。

简单说下锐科激光的基本面:

公司是国内光纤激光器龙头,2017年全球光纤激光器市场规模达到20.39 亿美元,公司2017年国内市占率约15%左右。光纤激光器主要是用在像打标、切割、焊接、增材制造和激光医疗等领域。

在A股里,与锐科激光同行的有大家比较熟悉的大族激光,大族激光属于锐科激光的下游。虽然是上下游关系但是两者都在激光行业,且各自都是自己领域的领军企业。但是大族激光不是锐科激光的直接竞争对手,在国内锐科激光主要竞争对手是深圳的两家公司,一家叫创鑫激光,一家叫杰普特光电,其他光纤激光器生产企业规模都比较小。国外竞争对手有IPG、Coherent、Trumpf和nLight等。公司2014-17年营收复合增速超60%,归母净利润复合增速174%,净利率29.37%,目前暂时超过IPG。假如对标全球龙头IPG,公司具备10倍成长空间。

然后重点说下炒作亮点:

一、国产替代+自主可控,这个是最大的炒作亮点。国内小、中功率光纤激光器国内厂商市占率已分别达到 85%和 60%,基本实现国产替代,而大功率光纤激光器仍是 IPG的天下,占据光纤激光器约 60%的市场份额。

随着锐科激光在万瓦大功率光纤激光器领域的突破,锐科激光已经开始与 IPG 在正面战场展开竞争,大功率激光器市场的进口替代有望复制中小功率光纤激光器的历史进程,未来有望实现高功率激光器的逐步国产化。

二、独角兽。锐科激光是国内首个光纤激光器行业标准制定者,相关产品已经打破海外企业垄断,目前公司技术水平已跻身全球第二,仅次于IPG。

三、实控人国务院国资背景。

四、海外专家回国创业。公司副董事长兼总工程师闫大鹏(创始人)、董事兼副总经理李成、副总经理兼董事会秘书卢昆忠都是光纤激光器及核心器件领域的领军人才。以 3 名海外专家为核心,公司建立起以博士和硕士为主体的光纤激光器及核心器件的研发团队,并于 2014 年入选国家重点领域创新团队。截至 2017 年末,公司及控股子公司共有技术研发类人员 205 人,占全体员工人数的比重为24.29%。 公司的技术研发实力在国内品牌中处于绝对领先地位。

成交回报相当亮眼,3机构合计买入2.16亿证明该股基本面的确优秀,佛山在卖出后纠错,重新买回。该股今日带起了激光板块中的迪威讯和京华激光,另外还有次新光环和机构买入BUFF,明日将获得较高溢价。

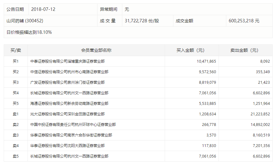
智动力、山河药辅:

这两只股完美演绎了今日的市场情绪。这两只股昨日分析没毛病,竞价都超预期了,强的智动力涨停开,弱的山河药辅跌停开。但是后面的走势同样超预期,智动力大幅杀跌,最大振幅达18.53%,智动力的问题出在昨日涨停非合力行为,今日一字板开盘,被引导资金砸也是合理。而山河药辅一路上涨,最大振幅达到16.29%,有点模仿3月26日盘龙药业的感觉,虽然没有成功,但是尾盘的抢筹又让该股有明日涨停的希望,看看明日会不会超预期。这两只股截然相反的走势,基本就是今天整个市场的一个缩影。

image

智动力没有上榜,我只知道中投证券广州番禺桥南路上午排板被砸,日面14%,其余买入卖出情况不详。山河药辅今日的榜结合周二的三日榜来看,今日出清的基本是昨日买入的资金,另外提一句,按照金田路的习惯,大概率是割在跌停附近。买入方面比较均衡,未出现一家独大的情况,像这类获利盘较为丰厚的股隔日要想继续走强,一般来说需要一个快速拉升确认。

天华超净:

两市最高高度个股,今日分歧板,而且分歧非常大,明日若走出6板基本确认成妖。很多人说该股在午后已经由分歧转一致了,个人可能不太认同,很有可能是抛压筹码的衰竭叠加午后上涨情绪的高涨导致抛单减少。所以该股明日若想参与,打板是最安全的方式。

image

成交回报可看点不多,买2中信证券北京远大路是我蛮欣赏的一个游资。该股目前轿子不重,大部分的成交都是在板上,筹码成本基本跟上来了。所以有资金接力的话应该不难,走加速是比较理想的走势。明日等待欢乐海岸老师的出手。

image

特别声明:本文系网络转载,如有侵权请联系删除,版权归原作者所有