7月9日龙虎榜:福达合金缩量新高 明日面临重要节点
2018-07-09 18:55

今日普涨行情,盘面热点凌乱,但主要还是围绕次新、中报预增和填权。从龙虎榜看,今日知名游资几乎没有上榜,但机构开始大举买入与调仓换股。

image

重点股票龙虎榜解读:

福达合金:

该股今天缩量缩出了新高度,基本没人卖,妖性大发。开板次新中位置较低天地数码和科沃斯助攻,但较为可惜的是高位的汉嘉设计和绿色动力没能跟上。低位发酵、高位受阻,导致次新的节奏在今日断档。

明日福达合金将会面临分歧,分歧后是见顶还是中继成了最关键的问题。分歧是预期内的事情,所以并非烂板就是见顶,而是要看分时走势是否与大盘、情绪共振,该强则强,该弱可弱。有货的盘中理智对待,既不看多,也不看空,多点耐心,利用好先手优势,真的走弱了再出不迟。

智动力、山河药辅:

假如福达合金明日顶住分歧,继续走妖,那么在智动力和山河药辅中,会出一个周期妖股的小弟,如贵州燃气对应华森制药,万兴科技对应盘龙药业。智动力应该是午后最好的一个涨停板,昨日成交量大约25万手,今日到2点左右成交量已经近21万手,浮动筹码基本出清,盘子非常轻,资金稍微点火就上去了。山河药辅受《药神》影响,并且叠加中报预增和填权,直接一字板。两只个股同为填权板块,智动力在筹码结构上更优秀一些,山河药辅在概念叠加和市场情绪上更胜一筹。

image

山河药辅无榜,所以只分析一下智动力的龙虎榜。智动力的成交回报与预期一致,浮动筹码几乎被清空。通过买盘回溯分析,下午的股价拉升也属合力行为,前五买入资金均未在拉升过程中买入,明日该股有望继续涨停。

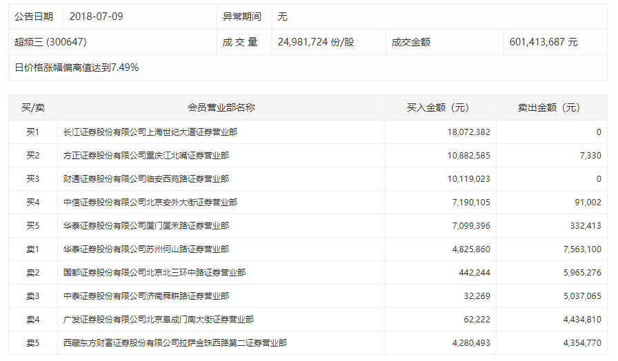
超频三:

image

今日涨停暂且当反抽看待。其实超频三若能调整更深一些,今日能够爆量上涨,板上分歧更大一些,是能够另眼相待的,并且是有机会走出第三波行情,具体可以参考当年股权转让的四川双马或是今年2月23日的贵州燃气。稍稍有些惋惜,但事无绝对,该股后市若能新高,有望成为年内最大妖股。

成交回报方面,长江证券上海世纪大道和中信证券北京安外大街分别买入1800万和700万。这两个席位是目前较为活跃的游资席位,从近期交易明细可以发现,这两个席位操作成功率极高,是目前值得跟踪的席位。

特别声明:本文系网络转载,如有侵权请联系删除,版权归原作者所有