8月9日龙虎榜:市场牛熊周期交替按天计算 一线游资出手上亿抢反弹
2018-08-09 20:45

今日受国务院成立科级领导小组这一事件的刺激,盘整多日的科技股迎来反弹,但对于该事件带来如此巨大的能量比较意外,更多的应该是市场自发的超跌带来反弹。科技股的涨停占据了半壁江山,创业板大涨3.44%,一线游资在修整多日后,也开始出手,整体市场还是偏乐观的。但是6月份下旬那种熊一天牛一天的市场行情,仍记忆犹新,对后市不敢妄加评判。以下为今日知名游资龙虎榜,上亿级别的出手已经好久不见了。

image

重点个股龙虎榜点评:

新疆浩源:

这只股稍微有点生不逢时,从早盘来看,该股低开快速拉升之后,是有冲板的机会的,但是早盘科技股的上涨对资金的分流挺严重的,特别是在9点45国科微涨停之后,可以看到天然气板块的指数快速下跌,和大盘指数明显倒挂。但是早盘的这波下杀明显过分了,抄底资金介入,在大盘的情绪带动下,该股午后开始修复,2点后资金的点火,已经有点超频三在6月26日的样子了,这时候资金记忆来了,尾盘竞价也和超频三也是如出一辙,竞价阶段涨了2个点。然后结合成交回报和竞价委托资金来分析一下。先看竞价委托资金,这里有几笔委托涨停的单子,以散单为主。正是这几笔散单,才有了后面8000手12.50的大单冒出,但是最终这笔单子也只成交了不到1000手,所以总体而言,竞价基本是市场合力完成。

image

image

但是,成交回报告诉我们,目前该股太过散户化了。

image

虽然成交回报只有3日的,但是没关系,结合8月8日和8月7日的成交回报,仍然可以知道今天是什么资金买入。买一杭州文一西路,3日合计买入1876.82万,这个席位在8月7日买入1073.29万,8月8日卖出1138.55万,所以今日该席位重新又买回800万;买二上海世纪大道,买入是昨日的,今日净卖出,差不多是平盘出局,不过这个席位格局真的不错,在早盘走势不妙之后才出的。买三上海翔殷路,昨日买入926万,今日应该是早盘稍微加了点仓,但是看情势不妙,也出局了。买四这个席位,是东方财富的网上开户营业部,俗称散户席位,由一大帮子散户组成。买五也是昨日买入,今日净出货。所以问题来了,今日该股几乎没有大资金买入,高位股出现这样的信号是比较危险的,意味着散户可能接盘了。而超频三在6月26日时,欢乐海岸加仓3000万,砸盘王北京东三环买入1000万,是有大资金在造势。所以新疆浩源今日走势虽然像超频三,但是做不成超频三,明日大概率是出货日,可能有冲高机会,把握好出货机会。

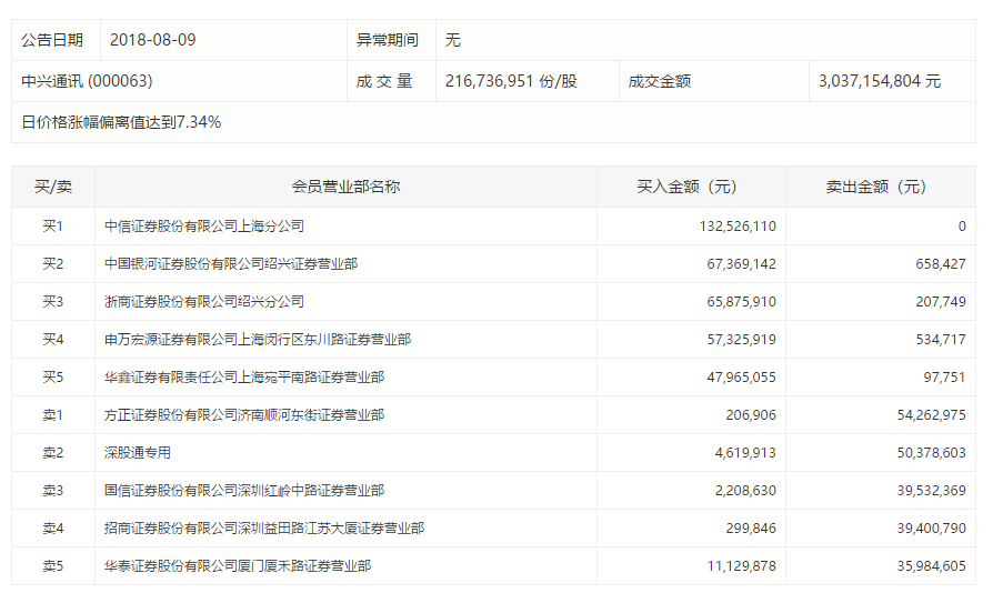
中兴通讯:

中兴通讯作为今日科技股的中军,对科技股全面爆发上涨起到至关重要的作用,如果没有中兴通讯的涨停,科技股是无法吸引这么多资金买入的。但是该股有个问题,在10点52分的时候,该股有过一次炸板,可中国软件在9点50分的时候刚刚涨停完成助攻,这个助攻会给中兴通讯的资金非常大的信息,所以是不该炸板的,即使后面回封涨停,仍然无法掩盖该股偏弱的表现。这也从侧面反映了今日科技股的上涨,并不具备太好的持续性,所以明日分化是必然的。所以明日观察资金从科技股流出之后的流向,这个资金流向,大概率就是明日的热点。作为今日最大热点的中军品种,明日有溢价,但无连板预期。有些人说,一封二封仍然缩量,需要开板补量,但是开板补量是讲究时机的,要和大盘、情绪共振,哪有在情绪最高昂的时候开板补量的道理。

image

成交回报方面,应该是全明星阵容。中信上海分公司买入1.32亿,赵老哥合计买入1.33亿(买二+买三),闵行东川路买入5700万,炒股养家买入4800万。对比前五的卖出资金,买入方面在大资金如此强硬的情况下,该股仍封了个烂板,只能说是市场不认同。

然后简单说下比较关键的个股:

次新股能走多远要看芯能科技和春光科技,因为下一个开板的次新是长城军工,离开板时间大约还有10个交易日,次新出现断层的现象,而且整个板块前期实在是跌崩了,所以还是有希望出现整体板块的反弹行情的。只是最近次新股不受市场待见,期待修复这一情绪。

连板的空间个股看六国化工,近期凡是分歧板,都能走得稍微远一点,反而预期比较一致的都断了,这就是为什么昨日说拓维信息不好的一个重要原因。

今天午后有一个装配式建筑的题材,由恒通科技带动的,算是基建的一个分支。基建仍然会是后市的主线,所以这个分支不能小觑。

科技股的持续性如何,看国科微的竞价基本就知道了,预判归预判,还是需要市场的验证。倒是腾信股份受谷歌回归刺激,更具备独立性。

特别声明:本文系网络转载,如有侵权请联系删除,版权归原作者所有