科创板晚报|思瑞浦筹划收购创芯微并配套募资 天合光能股东拟减持合计不超5.65%股份
2023-05-26 21:02

《科创板日报》5月26日讯

今日科创板晚报主要内容有:工信部副部长王江平:前瞻布局人工智能、web3.0、先进计算、6G等未来产业;恒烁股份:CiNOR存算一体AI芯片目前处于研发阶段,还未实现量产销售;逸飞激光、航材股份、司南导航、艾罗能源科创板IPO注册生效。

【热点聚焦】

工信部副部长王江平:前瞻布局人工智能、web3.0、先进计算、6G等未来产业

2023中国国际大数据产业博览会在贵州省贵阳市开幕。工信部副部长王江平出席开幕式并致辞。王江平表示,工信部将深化大数据与实体经济融合发展,扎实推进新型工业化。加强关键核心技术攻关,统筹推进产业基础再造工程和重大技术装备攻关工程,前瞻布局人工智能、web3.0、先进计算、6G等未来产业,在新赛道上形成新竞争力。不断提升网络供给能力,加快5G、千兆光网深度覆盖,打造云网融合、算网一体的网络架构和算力供给体系,为大数据产业创新发展提供强有力的底座。加快数据要素市场培育,构建数据基础制度,推动建设全国统一的数据登记平台、数据资产评估服务平台,深化数据管理国家标准贯标,激发数据要素价值潜力。推进大数据赋能千行百业,开展促进数字经济和实体经济深度融合全国行等系列活动,以数字技术的规模化应用促进实体经济高质量发展。

工信部副部长徐晓兰:集聚力量突破智能芯片、算法框架、大模型等智能产业的“根”技术

在5月26日举行的2023中关村论坛全体会议上,工信部副部长徐晓兰表示,要强化产业基础再造和重大技术装备攻关,加快核心基础零部件、核心基础元器件、先进基础工艺、关键基础材料、基础软件等方面的攻关突破,集聚力量突破智能芯片、算法框架、大模型等智能产业的“根”技术,加快和提升制造业创新中心的建设布局和质量,加强新型基础设施建设,夯实产业发展底座。

国产大飞机C919本周日商业首航

据东航APP显示,5月28日东航C919首个商业航班飞行计划公布,班次为MU9191上海虹桥-北京首都,MU9192北京首都-上海虹桥,计划飞行时长2小时25分钟。

昆仑万维旗下Opera推出浏览器生成式AI服务Aria

据昆仑万维官方公众号,5月24日,Opera正式推出人工智能服务Aria,借助Aria用户可以免费使用领先的生成式AI服务,将在包括欧盟在内的180多个国家/地区推行。

马斯克脑机接口公司Neuralink:首次人体临床试验获FDA批准

马斯克的脑机接口公司Neuralink当地时间5月25日宣布,已获得美国食品药品监督管理局(FDA)的批准,将启动首次人体临床研究。Neuralink表示,临床试验尚未开始招募参与人员,将很快公布更多相关信息。

深度:

打口水战不如比拼硬实力!文心一言VS科大讯飞VS360智脑 谁更胜一筹?

存储芯片黎明前的黑暗?DRAM价格逼近原料成本 机构预测七月或迎供需反转

面板升温信号又现?厂商酝酿下月大范围涨价 部分领域迎来急单

加码分布式光伏!天合光能子公司拟进行增资扩股 最新回应来了

国内首条先进半导体复合衬底产线通线 青禾晶元获众多知名机构投资

【科创板公告】

思瑞浦:筹划收购创芯微并募集配套资金 公司股票5月29日起停牌

思瑞浦公告,公司正在筹划以发行股份及支付现金的方式购买深圳市创芯微微电子股份有限公司的股权同时募集配套资金。公司股票自5月29日(星期一)开市起开始停牌,预计停牌时间不超过10个交易日。目前本次交易正处于筹划阶段,交易各方尚未签署正式的交易协议,具体交易方案仍在商讨论证中,尚存在不确定性。

天合光能:股东拟减持公司合计不超5.65%股份

天合光能公告,公司股东兴银资本及其一致行动人兴璟投资合计持有公司11.157%股份,因自身发展和资金需求,兴银资本拟减持合计不超过公司总股本5.23%的股票,即1.14亿股;兴璟投资拟减持合计不超过天合光能总股本0.42%的股票,即921.13万股。

恒烁股份:CiNOR存算一体AI芯片目前处于研发阶段 还未实现量产销售

恒烁股份发布股票交易异常波动公告,公司的主营业务为NOR Flash芯片和MCU芯片,主要应用于消费电子领域,消费电子领域品牌众多,竞争激烈,其中NOR Flash市场规模相较于DRAM和NAND Flash来说,相对较小。公司的CiNOR存算一体AI芯片目前处于研发阶段,还未实现量产销售,产业化尚存不确定性,拟用于小算力、低功耗应用场景,主要专注在边缘和终端设备。

希荻微:子公司拟减持NVTS股票

希荻微公告,公司的二级全资子公司Halo Microelectronics International Corporation拟在美国纳斯达克股票市场减持其持有的Navitas Semiconductor Corporation(以下简称“NVTS”)股票。根据美国东部时间2023年5月24日NVTS股票的收盘价计算,公司持有NVTS股票市值约3157万美元,折合人民币约2.23亿元。

【发审动态】

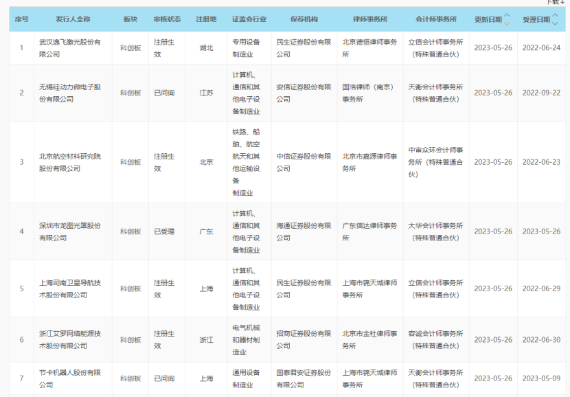
7家科创板拟上市公司发审状态更新 逸飞激光、航材股份、司南导航、艾罗能源注册生效

截至发稿,共有888家公司科创板上市申请获受理,7家公司发审状态更新。

其中,逸飞激光、航材股份、司南导航、艾罗能源注册生效;硅动力、节卡股份已问询;龙图光罩已受理。

image

【创投风向标】

上海国资体系第一支创投类S基金成立 规模15亿元

上海股权托管交易中心、上海科创基金主办的“上海S基金联盟2023年度峰会”在上海松江举行。会上,上海科创基金与上海国际集团、松江国投集团、成都高新策源、海通创新、齐鲁投资、昀曜投资、浦银理财、兴业证券、金山资本等新老投资人签订了上海科创接力一期基金合作协议。截至目前,上海科创接力一期基金已完成工商注册和产品备案,首关规模7.56亿元,此外,部分保险机构、银行理财子公司等意向投资人的决策流程即将进入尾声,预计终关规模将超过15亿元。

麦田能源完成超10亿元Pre-IPO轮融资

近日,全球户用储能及光伏并网逆变器企业麦田能源股份有限公司正式完成了Pre-IPO轮融资,本轮融资规模超10亿元,由朝希资本领投。本轮融资将为麦田能源在产品研发、产能提升、二期项目建设及日常运营等方面提供充足的资金支持,进一步加速在全球新能源市场上的业务布局,提升核心竞争力。

宏景智驾获Prosperity7 Ventures数千万元追加投资

自动驾驶科技公司宏景智驾宣布获得阿美风险投资旗下多元化成长基金Prosperity7 Ventures数千万元的追加投资,至此,宏景智驾B轮总融资已近5亿元。该笔融资将用于公司下一代ADAS高级辅助驾驶系统以及高阶自动驾驶解决方案的开发,同时扩大公司产能规模。

快控科技完成Pre-A轮融资 由深圳担保集团投资

快控科技近日完成Pre-A轮融资,由深圳担保集团投资,多维资本担任独家财务顾问。本轮所融资金将用于加速公司业务拓展、扩大研发和工程团队,以确保整车中间件和新型车载以太网零件的顺利量产交付。

特别声明:本文系网络转载,如有侵权请联系删除,版权归原作者所有