北向资金大额扫货名单来了!宁王、茅台冰火两重天
2024-04-06 17:39

财联社4月6日讯,本周,由于清明小长假的因素,A股只有3个交易日,且港股休市一日,本周的北向资金只有2天交易,合计小幅净流出38.93亿元。

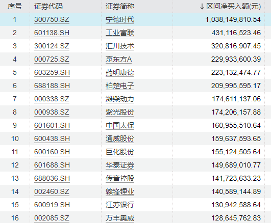
根据Wind数据统计显示,本周北向资金2个交易日,净买入额最多的个股的是宁德时代,2个交易日一共净买入10.38亿元,2天累计买入额超过2亿元的个股有6只,工业富联、汇川技术、京东方A、药明康德和柏楚电子本周北向资金净买入额靠前。

image

而从净卖出额方面来看,贵州茅台遭北向资金净卖出额居首,被净卖出8.67亿元,紫金矿业遭净卖出6.47亿元,此外,兖矿能源、阳光电源、中国石油、中国中免等净卖出额也较多。

image

值得一提的是,本周贵州茅台发布2023年年报,年报显示,2023年公司实现营业收入1476.94亿元,同比增长19.01%;净利润747.34亿元,同比增长19.16%;基本每股收益59.49元。分红方面,贵州茅台拟10派308.76元,拟分红金额387.86亿元。从股价上看,贵州茅台在公布年报后,该股高开,随后有所走低,最终收盘微涨0.07%。

特别声明:本文系网络转载,如有侵权请联系删除,版权归原作者所有