7月11日龙虎榜:游资活跃 一版块或引领明日反弹
2018-07-11 19:03

受贸易摩擦影响,市场情绪再次低落,全天无一板块上涨。特斯拉板块成最大热点,但是文灿股份、长盛轴承等一字板,无参与机会,而人气较好的威唐工业烂板一整天,所以该板块参与价值并不高,与前阵子债转股行情类似。

另外一个热点在于锂电池方面,钴历来走势都是一波流行情,涨一波,跌一波,从不拖沓。贸易摩擦的影响,以后会越来越弱,实际上今日加征关税的新闻并未超出预期太多。个人认为今日市场指数下跌只是被“吓怕了”而已,临近尾盘,指数已经开始修复,明日应会有反弹。龙虎榜上资金非常活跃,与市场情绪背离,基本也验证今日下跌纯属“无厘头”。

image

重点股票龙虎榜解读:

福达合金:

该股从竞价说起。9点15分时大约有3000手隔夜涨停单子,在15分至20分之间,资金一路撤单,到9点20时,只剩下1500手了,而在此期间,几乎没有买单。9点20分之后,资金先是观望为主,稀少的委托买单导致资金开始委托卖单,但这些仅仅只是散单的委托卖单造成竞价下跌近2个点,基本确认承接极差,随后委托卖单增加,竞价一路下跌,最终-3%开盘,严重低于预期。

开盘后,有资金试图通过大单突破78和79的整数价位,但无奈抛压盘过于严重,且绿色动力已经确认卡位,福达合金随后一路杀跌直至跌停。该股今天放量下跌,明日反抽概率极低,基本确认该股到头,妖股5连板暂时成为天花板。另外提一句,昨天早盘天永智能这种卡位行为极其伤害市场,因为天永智能的快速涨停,许多资金流向填权板块。在存量市场上,这直接导致福达合金板块效应缺失,但最终结果,还是一起死,何必呢?

image

成交回报显示,北京北三环路席位跌停割肉出货;招商上海肇嘉浜路席位的这种操作风格值得学习,不及预期直接砸,毫不犹豫,并未出现大幅亏损;其余席位均为前期买入,丰厚获利出局。该股正常预期无反抽可能性。

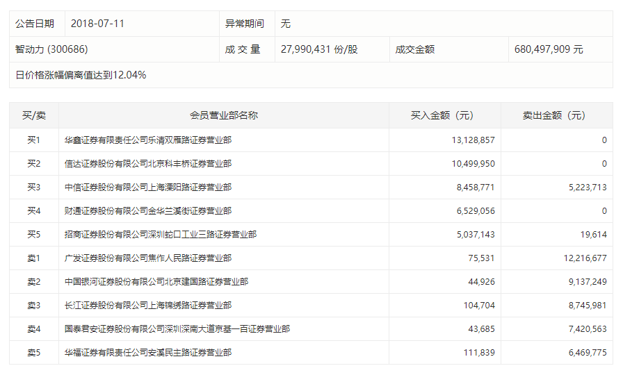
智动力、山河药辅:

目前填权板块还是只看这两只股。智动力今天的关键时间点在于临近午盘时,摆脱天永智能,出现独立走势。在经过浮动筹码的出清后,盘子非常轻,后面的拉升没有遇到什么阻力就涨停了,暂且看作是填权板块龙头。

另外,片面的从涨停时间去考虑板块内的地位是常见的错误,比如智动力的2板,很多人会觉得就是非常后排的跟风品种,但为何我在该股2板的时候就挑出来跟山河药辅放一起比,主要是考虑筹码结构、稀缺性、后手优势以及大盘共振等因素。

山河药辅几乎是全天烂板,在智动力上板后仍未稳定下来,最终借助尾盘医药股上涨,才艰难封死涨停。就今日来看,山河药辅已经弱于智动力了。

image

山河药辅无成交回报,只分析智动力的成交回报。买一华鑫证券乐清双雁路应该是排单买入,两笔单子分别是3852手和1140手。买五招商蛇口工业三路也是板进,是下图的1888手。

image

其余三席位中应该有一引导资金,13点46分开始,该股是通过几笔大单拉升,拉升过程不像市场合力行为。如下图所示:

image

明日智动力马上就面临5板,受福达合金影响,明日5板压力非常大,关注是否超预期涨停。

绿色动力:

该股今日超预期开盘,在开盘后一分钟内,换手率达到10.87%(包括集合竞价),在这样的大量换手下,该股下杀到7%就杀不动了,承接非常强,资金看如此强势,就快速拉升上板。该股可以看作是福达合金的补涨,作为补涨股,空间受限。今日资金未从近端次新中流出太多,所以近端次新不弱,但也绝对不强,绿色动力同昨日的福达合金一样缺少跟风个股助攻。该股明日会有溢价,但绝不适合接力。

image

成交回报显示,该股锁仓情况严重,昨日买入大资金几乎没有卖出行为,买一赵老哥加仓近5000万,买二荣超商务中心买入4800万。其余买入三席位均为昨日买入,今日未出货。该股目前盘面非常重,并不适合接力。唯一机会在于早上大量成交,出清浮筹,午后上板,或许会有生机。

特别声明:本文系网络转载,如有侵权请联系删除,版权归原作者所有